Аудиосистема уровня HiFi без нарушения интерьера в BMW X5 (G05)
Владелец почти нового BMW X5 (G05) был в полном восторге от современного германского кроссовера, за исключением одного но - унылого и скучного звучания штатной аудиосистемы с гордым названием Harman/Kardon.
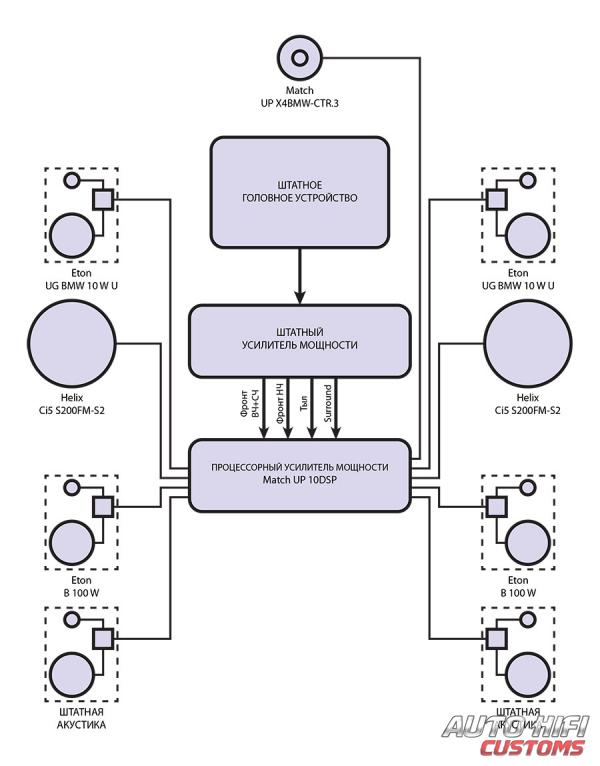
В ходе обсуждений возможных вариантов апгрейда, пришли к следующим компонентам будущей аудиосистемы:
- Источник звука: штатное головное устройство MGU
- Процессорный усилитель: Match UP 10DSP
- Акустика: Eton UG BMW 10 W U, Helix Ci5 S200FM-S2, Eton B 100 W, Match UP X4BMW-CTR.3
- Подиумы для акустики: Helix CFMK200 BMW.1S
- Проводка: Match PP-BMW 1.9RAM-HK, Tchernov Cables
Штатное головное MGU рестайлингового BMW X5 (G05) даст фору любым автомагнитолам в мире, поэтому менять его вряд ли кому придет в голову, да и физически это почти невозможно.
Процессорный усилитель мощности Match UP 10DSP, произведенный в Германии, один из немногих на рынке, что может адекватно воспринимать сигнал с бустера, от которого работают штатные подсидельники системы Harman, установили в левую боковину багажника и подключили к штатной аудиосистеме с использованием кабеля Match PP-BMW 1.9RAM-HK.
Компонентную акустику Eton UG BMW 10 W U, произведенную в Германии, установили на фронт в штатные места передних дверей BMW X5 (G05). Акустика HiFi уровня, которая рассчитана на работу в штатных местах BMW!
На тыл, в штатные места задних дверей отлично встали немецкие Eton B 100 W. То, что надо для комфорта задних пассажиров и объема у передних.
Мощные мидвуферы Helix Ci5 S200FM-S2 отлично встали в штатные места под передние сидения BMW X5 (G05) с использованием переходных колец Helix CFMK200 BMW.1S. Глубокий и качественный бас без сабвуфера в багажнике в кроссовере обеспечен!
Динамик центрального канала Match UP X4BMW-CTR.3 установили в штатное место в торпедо автомобиля. Центр мы используем в аудиосистемах с процессорными усилителями Helix или Match, так как только они могут качественно выделять средние частоты, не портя сцену.
Настройку звука произвели при помощи профессионального измерительного оборудования Helix MTK1.
Результат порадовал нас и впечатлил владельца. Звук стал детальный и насыщенный, сцена по лобовому стеклу с правильной расстановкой инструментов и вокала, запас по громкости без искажений огромный!











